24176CAK30  AH24176
类型

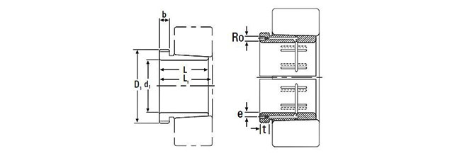
滚动轴承用拆卸套

型号:24176CAK30 AH24176
厚度(mm):0
内径 d:360
外径 D:0

详细信息

轴径(mm)
  • d 1
轴承公称内径(mm)
  • d
型号
  • (适用轴承)
螺纹规格
  • G
尺寸(mm)
  • B 3
  • G 1
  • B 4
重量(kg)
  • (参考)